型(xing)号:根據客戶要(yào)求定制或代為(wéi)設計
材質:彈簧(huang)鋼(60Si2MnA、55CrSiA、50CrVA、65Mn)
不鏽鋼(301、302、304、316、17-7PH、15-7Mo)
特殊(shū)合金鋼(GH4145、GH4169、GH2132、GH4090)
進口牌(pai)号(Inconel X-750、Inconel 718、Nimonic90)
溫馨提示:對(dui)初次合作或未(wèi)定型尺寸請先(xiān)小批量試☎️制,謝(xie)謝❤️!!!
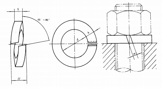
尺寸:

數控彈(dan)簧機

熱處理電(dian)爐

連續式電爐(lu)

數控彈簧機車(che)間

數控磨簧機(ji)車間

電腦萬能(neng)試驗機

電腦拉(lā)壓試驗機

扭轉(zhuǎn)彈簧試驗機

彈(dan)簧疲勞試驗機(ji)
更新時間:2023-4-11 14:21:44 點擊(jī)次數:
本文鍊接(jiē):
上一(yi)篇:
17-7PH彈簧墊圈 下(xia)一篇:沒有了!